M14 Optical Feedthrough
Description
- Uses no epoxy
- Standard M14 threads
- No moving part
- Support vacuum or pressure
- Includes a "locking star" washer
- Specifically designed for harsh and vibration environments
A ruggedized and vibration proof optical feedthrough to mate flat surface in laboratory, industrial and aerospace application
For a product brochure of the Neoptix M14 Optical feedthrough, please contact Neoptix
Neoptix's M14 optical feedthrough connector has been specifically designed for installation onto flat surfaces. It is designed to withstand the most harsh environments, including high vibrations.
The Neoptix M14 type feedthrough provides a long-term leak-free interface and requires absolutely no maintenance. Based on high technology glass-to-metal bonding techniques, it overcomes all the disadvantages of other mechanical feedthroughs caused by unreliable epoxy bonding.
The optical feedthrough connector has standard ST connectors on both sides and has absolutely no inner moving parts or loose optical components. It is specifically designed to mate with all Neoptix's fiber optic temperature probes, including the general purpose T1™ model and the T2™ model for oil-filled transformers. It can be used with any of our complete range of optical signal conditioners (Nomad™, Reflex™, OmniFlex, T/Guard™ and T/Guard+™).
Moreover, Neoptix’s M14 optical feedthrough connector is a stand-alone part designed to mate with any of our temperature sensors and extension cables. Simply connect the ST connector of your sensor on one side and an extension cable on the other and it is then optically mated.
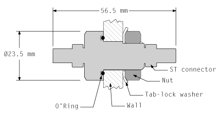
The M14 optical feedthrough has a key-way slot that allows the use of a tab-lock washer: a perfect combination for using the feedthrough in challenging environments. It uses a standard aeropsace AS568A O'ring. While it comes with a Viton® O'ring, it is possible to get the feedthrough with different O'ring materials, such as Buna-N (Nitrile), perfluoro-elastomer, Teflon® (PTFE), fluoro-silicone, polyurethane or Neoprene.
The M14 is a metric (ISO 261) hex cap bolt made out of stainless steel 316 and has a diameter of 14 mm and a 2 mm thread pitch. It comes standard with a Viton® O’ring and a matching tab-lock washer. The M14 complies with the most stringent specifications set by aerospace industry, including vibrations and crash tests.
Literature/images
LITERATURE
For a product brochure of the Neoptix M14 Optical feedthrough, please contact Neoptix
IMAGES






Accessories
No accessories are available for the M14 optical feedthrough

